BROYEUR À MARTEAUX D’ACCOTEMENT FOX CROSS
BROYEUR À MARTEAUX D’ACCOTEMENT POUR TRACTEURS DE 18 À 45 CV
Le BROYEUR À MARTEAUX D’ACCOTEMENT FOX CROSS est utilisé pour le broyage d’herbe et de sarments d’un diamètre de 2-3 cm, dans des contextes tels que l’entretien des routes à proximité des chaussées, pour le nettoyage des fossés, pour le réglage des haies, sous les panneaux photovoltaïques et pour les espaces publics. Il monte de série des pots-de-vin forgés
Puissance du tracteur (exprimée en CV) : 18- 45 CV
Largeur de coupe : 1175 – 1475 mm
Avec récolte : non
Application : Arrière
Groupe de coupe : Fléau robuste
Poids: 200-300 kg
Secteurs d’application
Airports / racetracks
Terrains de sport
Terrain en pente / glissant
Agriculture / élevage
Photovoltaïque
Vignobles / vergers
Vastes Espaces Verts
École d’équitationche
Espaces verts non cultivés / sous-bois
Entretien des routes
Espaces verts privés
Parcs publics
Terrains de golf
Structures d’accueil
Fonctionnalité
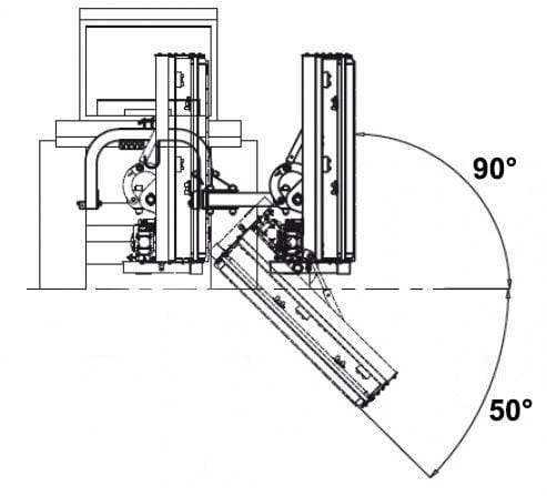
La BROYEUR À MARTEAUX D’ACCOTEMENT FOX CROSS atteint une variation de pourcentage de pliage qui oscille entre -50 et +90 et pour cette raison la machine peut travailler verticalement avec constance sur de longues haies, sans aucune hésitation. Il est disponible dans les versions 1200 – 1400 et 1600
Caractéristiques et avantages
-
N
Cardan de série inclus dans le prix
-
N
Nombreuses possibilités de découpe en fonction du contexte de travail
-
N
Traîneaux latéraux standard pour éviter d’endommager la coque
-
N
Rouleau arrière compacteur
-
N
Travailler des herbes hautes et des arbustes jusqu’à 3cm de diamètre
-
N
Multiplicateur à engrenages hélicoïdaux rodés et à faible bruit
-
N
Tendeur de courroie facile à régler avec ressort d’auto-tension
-
N
Il est équipé de série de palettes en plastique dur et d’un caoutchouc de protection qui font office de pare-pierres
-
N
Disponible dans la version 1200 – 1400 – 1600
-
N
Bras articulé à mouvement hydraulique entièrement commandé par les commandes du tracteur
-
N
Variation en pourcentage de pliage de -50 à +90
-
N
Tuyau avec manuel toujours inclus
-
N
2 lames de coupe supplémentaires, toujours incluses
Spécifications techniques
| | Largeur de Coupe | Min – Max Puissance Requise | marteaux 0,6 kg |
|---|---|---|---|
| FOX CROSS 1200 | 1175 mm | 18-30 HP / 13,5-22 KW | 40 |
| FOX CROSS 1400 | 1340 mm | 25-40 HP / 13,5-30 KW | 44 |
| FOX CROSS 1600 | 1475 mm | 30-45 HP / 22-33.5 KW | 50 |
| mesures de déplacement pendant le travail | A | B | C | D | E |
|---|---|---|---|---|---|
| FOX CROSS 1200 | 755 mm | 710 mm | 1460 mm | 1335 mm | 1920 mm |
| FOX CROSS 1400 | 744 mm | 875 mm | 1630 mm | 1385 mm | 2085 mm |
| FOX CROSS 1600 | 755 mm | 1010 mm | 1765 mm | 1384 mm | 2220 mm |
| | Hauteur de Coupe | poids | RPM | Dimensions | Emballage |
|---|---|---|---|---|---|
| FOX CROSS 1200 | 10 – 80 mm | 260 kg | 540 | 148×138.5×77 cm | 150x90x155 cm |
| FOX CROSS 1400 | 10 – 80 mm | 270 kg | 540 | 163×138.5×77 cm | 170x90x155 cm |
| FOX CROSS 1600 | 10 – 80 mm | 290 kg | 540 | 176.5×138.5×77 cm | 180x90x155 cm |
Video
Brochure
FAQ / QUESTIONS FRÉQUEMMENT POSÉES
Quelle faucheuse à fléaux choisir ?
Le choix d’une tondeuse à fléaux Peruzzo dépend des besoins spécifiques de l’utilisateur et des caractéristiques du terrain à traiter. Un certain nombre de considérations doivent être prises en compte lors du choix d’un broyeur d’herbe:
Taille du terrain : Si vous avez un grand terrain, vous pouvez opter pour une tondeuse à fléaux Peruzzo avec une plus grande largeur de coupe et une plus grande capacité de travail pour couvrir rapidement de grandes surfaces. Vous pouvez envisager des modèles tractés ou automoteurs avec une plus grande largeur de coupe et plus de puissance.
Type de terrain : Si le terrain est accidenté, en pente ou difficile d’accès, il est préférable d’utiliser une faucheuse à fléaux Peruzzo compacte et maniable, capable de se déplacer facilement sur des terrains accidentés ou étroits. Dans ce cas, une faucheuse à fléaux latérale peut être le choix idéal pour atteindre des zones difficiles d’accès avec d’autres types de machines.
Type de végétation à couper : Si vous devez faire face à de l’herbe épaisse, des arbustes ou une végétation plus coriace, vous aurez peut-être besoin d’un broyeur Peruzzo avec une puissance et une capacité de coupe plus importantes. Les modèles équipés de lames robustes et de moteurs puissants peuvent facilement venir à bout d’une végétation plus dense et plus coriace, en garantissant des performances optimales même dans des conditions difficiles.
Fonctionnalités supplémentaires : Réfléchissez si vous avez besoin de fonctionnalités supplémentaires, telles que la possibilité de broyer l’herbe coupée, de régler la hauteur de coupe ou de fixer des accessoires tels que des collecteurs ou des brosses pour nettoyer le sol.Le choix d’un broyeur Peruzzo doté des fonctions les mieux adaptées à vos besoins peut améliorer l’efficacité et la polyvalence de la machine.
Différence entre le processus de SCARIFICATION et le processus de CONTRÔLE ?
Des doutes sont souvent soulevés quant à la différence entre le processus de scarification et le processus de décongélation. D’où la nécessité de clarifier et de dissiper ces doutes. La SCARIFICATION est un processus qui réduit la densité de la végétation aérienne en éliminant les débris et les feuilles mortes. Elle peut être réalisée à tout moment de l’année car elle n’est pas invasive. Elle est réalisée à l’aide d’aérateurs à ressorts rotatifs ou traînants qui agissent au-dessus de la surface du sol. Cette pratique favorise l’oxygénation, améliore la pénétration de la lumière et donc la photosynthèse.
Le FELTING, quant à lui, est une opération visant à enlever le feutre. Il n’est nécessaire de l’effectuer que s’il est présent, car le feutre obstrue la circulation de l’air et de l’eau, ce qui cause des problèmes. Le feutre est résistant et nécessite des outils agressifs pour être enlevé. Cette procédure, appelée VERTICUT, utilise des lames fixes ou mobiles qui coupent les premiers millimètres du sol où s’accumule le feutre. Il est important de noter que la coupe verticale nécessaire à l’enlèvement du feutre peut causer des dommages collatéraux si elle est mal effectuée ou si le sol est dépourvu de feutre.
Pourquoi n’acheter que des produits originaux Peruzzo ?
Il est primordial de n’acheter que des produits Peruzzo d’origine afin de garantir une qualité, une fiabilité et une sécurité optimales. Peruzzo est une marque renommée dans le secteur de l’agriculture et du jardinage, connue pour sa longue tradition d’excellence et d’innovation. Opter pour des produits authentiques signifie pouvoir compter sur des machines construites avec des matériaux de haute qualité et selon des normes de production strictes. En outre, l’achat de produits Peruzzo authentiques garantit l’accès à un service clientèle fiable, avec des professionnels prêts à fournir une assistance technique et des conseils utiles. Cela garantit non seulement une meilleure expérience utilisateur, mais aussi la sécurité d’utiliser un équipement conforme aux normes de sécurité et de qualité. Enfin, la compatibilité et l’intégration optimale des produits Peruzzo d’origine garantissent des performances optimales et durables, apportant valeur ajoutée et satisfaction aux acheteurs.
Combien de types de paillis existe-t-il ?
Les broyeurs sont des équipements agricoles utilisés pour broyer les résidus végétaux et les plantes dans les champs. Il existe différents types de broyeurs, chacun conçu pour des utilisations et des types de végétation spécifiques.
Voici un aperçu des principaux types de broyeurs :
1. Les faucheuses à fléau : elles sont spécialement conçues pour couper et broyer l’herbe. Elles sont idéales pour l’entretien des pelouses, des pâturages et des espaces verts en général.
Généralement légers et maniables, ils peuvent être montés sur des tracteurs de puissance moyenne.
2. Les broyeurs d’élagage : Ils sont conçus pour traiter les résidus de taille des vignobles et des vergers et sont utilisés pour broyer les sarments de vigne et les résidus ligneux de la taille.
Ils sont équipés de marteaux ou de couteaux robustes, capables de manipuler des matériaux ligneux.
3. Broyeurs à maillet ou à marteau : ils utilisent des maillets ou des marteaux pour broyer le matériel végétal. Ils sont utilisés pour l’herbe, les broussailles, les petites branches et les résidus d’élagage.
Ils peuvent traiter des matériaux plus résistants que les broyeurs d’herbe en raison de la robustesse des marteaux.
4. Broyeurs universels
Conçus pour être multifonctionnels, ils peuvent être adaptés à différentes applications, de l’herbe aux résidus ligneux. Ils offrent une bonne polyvalence et s’adaptent à différents types de végétaux.
5. Broyeurs forestiers
Conçus pour être utilisés dans les forêts et les zones boisées, ils sont idéaux pour broyer le bois et les grands arbustes.
Machines très robustes et lourdes, équipées de marteaux ou de lames capables de manipuler des grumes et des matériaux ligneux épais.
6. Broyeurs latéraux : ils sont montés sur le côté du tracteur et sont utilisés pour l’entretien des bords de route, des fossés et des pentes.
Ils peuvent travailler dans des positions difficiles à atteindre avec d’autres équipements.
7. Broyage en terrain rocailleux : ces broyeurs sont conçus pour travailler dans des conditions difficiles, telles qu’un terrain rocailleux ou rempli de débris, où d’autres broyeurs pourraient être endommagés.
8. Broyeur de biomasse : utilisé pour la production de biomasse en déchiquetant du matériel végétal spécifique pour produire des copeaux de bois destinés à être utilisés comme biocarburant.
9.Broyeurs à prise de force : ils sont reliés au tracteur par la prise de force et peuvent être utilisés pour différents types de broyage, en fonction de la configuration des lames et des marteaux.
10.Broyeurs autonomes : ils sont équipés de leur propre moteur et sont utilisés dans les endroits où un tracteur ne peut pas accéder ou n’est pas disponible.
Quelles sont les utilisations du broyeur arrière ?
La faucheuse à fléau arrière est un outil agricole utilisé pour couper et hacher l’herbe et d’autres mauvaises herbes. Elle peut être fixée à l’arrière d’un tracteur. Voici quelques situations dans lesquelles il est utile d’utiliser une faucheuse à fléaux montée à l’arrière :
Gestion des pelouses et des pâturages pour éviter la croissance excessive des mauvaises herbes
Préparation du sol avant le labourage ou l’ensemencement ou pour briser les résidus végétaux, ce qui rend le sol plus facile à travailler.
Entretien des bords de route pour améliorer la visibilité et la sécurité.
Gestion des zones non cultivées afin de contrôler la croissance des mauvaises herbes et des arbustes et d’empêcher l’invasion d’espèces indésirables.
Nettoyer les champs après la récolte pour faciliter la décomposition et améliorer la qualité du sol.
Prévention des incendies : l’enlèvement et le broyage de l’herbe sèche et de la végétation morte réduisent le risque d’incendie, en particulier dans les zones sensibles pendant la saison sèche.
Gestion des vignobles et des vergers où le broyage des résidus d’herbe et de taille améliore la santé générale des plantes cultivées.




























